


De juiste afstamming van Sechemset is niet duidelijk, algemeen wordt aangenomen dat hij een zoon of een kleinzoon was van zijn voorganger Djoser.
Tot 1951 was hij een van die zeer obscure koningen van het oude Egypte.
Toen werd zuidwestelijk van Djosers grafcomplex onder het zand een begin van een trappiramide ontdekt, waarvan de constructie zeer leek op die van Djoser.
Het ziet er naar uit dat dit het onvoltooide grafmonument van Sechemset is, onvoltooid omdat de koning stierf kort nadat de bouw begon.
Het bewijs dat Sechemset wel degelijk de bouwheer was werd geleverd toen vijf kruikstoppen van klei werden gevonden met zegelafdrukken met daarop zijn naam.
In het ondergrondse grafgedeelte van de onvoltooide piramide werd een rechthoekige sarcofaag van albast gevonden, die nog verzegeld was met gips, bij het openen bleek hij echter vreemd genoeg leeg.
Volgens Manetho regeerde Djoser 7 jaar en Jürgen von Beckerath kent hem in zijn “Chronologie des pharaonischen Ägypten” een ongeveer even lange regeerperiode toe (2670-2663 v. Chr.)
Horusnaam: Hr sxm-Xt Horus Sechem-chet
(Machtig van Lichaam)

Abydos tabel: tti Teti

Sakkara tabel: dsr tti Djoser-Teti

Bewijzen:
Een reliëf in de Wadi Maghara.
Zegelafdrukken op vijf kruikstoppen in zijn onvoltooide piramide te Sakkara.
De ruïne van de Sechemset piramide.

Een steile omlaag gaande “greppel” aan de noordkant van de onafgemaakte piramide leidt naar de piramide ingang.

Reconstructie van de piramide van Sechemset.

A – galerij
B – galerij
C – grafkamer
D – 132 magazijnen
E – afdalende passage
F – entree
Hoogte van de piramide: 70 m
Zijlengte: circa 120 m
Grafkamer: 8.9 m x 5.22 m x 4.55 m
Omtrek van de muur: 262 m x 185 m
Na uitbreiding: circa 500 m x 185 m
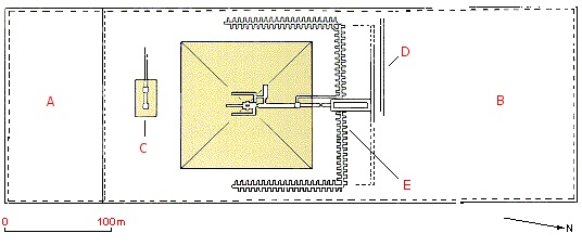
Bovenaanzicht van de piramide.

A – Zuidelijke uitbreiding
B – Noordelijke uitbreiding
C – Zuidelijke tombe
D – Witte muur
E – 132 magazijnen
Een gouden schelp (kunstvoorwerp), aangetroffen in de piramide tombe van Sechemset (Caïro Museum)

Cartouche nr 13 van de tabel van Sakkara, met de naam Djoserteti (Sechemset)
